Coco Raglan-Pullover stricken für Kinder
Der Raglanpullover für Kinder wird in Runden von unten nach oben gestrickt und ist in vielen Größen verfügbar.Das Muster entsteht aus dem Color-Garn heraus.
Die Schultern der Raglan-Konstruktion verlaufen von der Achsel bis zum Halsausschnittund sorgen so für eine besonders gute Passform.
Eine Anleitung von Lang Yarns.
- Langyarns Merino120 Color (240m/100g)
-
-
violett-gelb-braun-aqua 001
- blau-weinrot-braun-lachs 002
-
grün-rosa-blau-grau 003
- gelb-petrol-orange-flieder 004
-
- addi Rundstricknadel 3,5 und 4 mm
- 1 kurze Rundstricknadel 3,5 mm
- Nadelspiel oder Trio 3,5 und 4 mm (alternativ Magic Loop)
- Maschenmarkierer
- 74 – 80 = 9 – 12 Monate
- 86 – 92 = 18 Monate – 2 Jahre
- 98 – 104 = 3 – 4 Jahre
- 110 – 116 = 5 – 6 Jahre
- 122 – 128 = 7 – 8 Jahre
Garnverbrauch:
- 200/200/250/300/350 g = 4/4/5/6/7 Knäuel
-
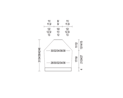
Oberweite: 60/64/68/72/76 cmLänge: 31/34/38/42/46 cm
Maschenprobe:
- 21 M x 28 R = 10 x 10 cm
- Glatt re in Rd = alle M re. In R = Vorders re, Rücks li.
- 1 M re, 1 M li.
Raglan-Pullover stricken: Rücken- und Vorderteil
- 134/146/154/166/174 M anschlagen mit der Rundstricknadel 3,5 mm und die Maschen (M) zur Runde (Rd) schliessen.
- 1 Rd rechts stricken (re str), dabei den Rundenbeginn markieren und nach 67/73/77/83/87 M eine weitere Markierung anbringen.
- Anschliessend im Muster I glatt rechts weiterstricken.
Bei 4 cm ab Anschl mit Nadelstärke 4 mm in folgender Mustereinteilung weiterstr:
- 1 M re, 2 M li, 1 M re, 1 M li, 57/63/67/73/77 M im Muster II (glatt rechts) stricken
- Dabei über diese Maschen verteilt insgesamt 8/10/10/12/12 M Abnahmen arbeiten:
- 1 M li, 1 M re, 2 M li, 1 M re*, von * zu * noch 1x wdh = 118/126/134/142/150 M.
- Bei 7/8/8/10/10 cm ab Anschlag bei den Maschenmarkierern 4×1 M betont aufnehmen (s. Tipp 2).
- Diese Aufn bei 12/16/17/20/20 cm ab Anschl 1x wdh = 126/134/142/150/158 M.
- Bei 21/23/25/28/31 cm ab Anschl 1 Rd wie folgt str: Ab Rd-Beginn 3 M abk, 57/61/65/69/73 M re, 6 M abk, 57/61/65/69/73 M re, 3 M ab Die M liegenlassen.
Tipp 2: Betonte Aufnahmen (seitl Schrägung): Nach der Bezeichnung = 1 M re, 2 M li, 1 M re, 1 M li, 1 M re, 1 M re verschr aufn. Vor der Bezeichnung = 1 M re verschr aufn, 1 M re, 1 M li, 1 M re, 2 M li, 1 M re.
Raglan-Pullover stricken: Rücken- und Vorderteil
- 134/146/154/166/174 M anschlagen mit der Rundstricknadel 3,5 mm und die Maschen (M) zur Runde (Rd) schliessen.
- 1 Rd rechts stricken (re str), dabei den Rundenbeginn markieren und nach 67/73/77/83/87 M eine weitere Markierung anbringen.
- Anschliessend im Muster I glatt rechts weiterstricken.
Bei 4 cm ab Anschl mit Nadelstärke 4 mm in folgender Mustereinteilung weiterstr:
- 1 M re, 2 M li, 1 M re, 1 M li, 57/63/67/73/77 M im Muster II (glatt rechts) stricken
- Dabei über diese Maschen verteilt insgesamt 8/10/10/12/12 M Abnahmen arbeiten:
- 1 M li, 1 M re, 2 M li, 1 M re*, von * zu * noch 1x wdh = 118/126/134/142/150 M.
- Bei 7/8/8/10/10 cm ab Anschlag bei den Maschenmarkierern 4×1 M betont aufnehmen (s. Tipp 2).
- Diese Aufn bei 12/16/17/20/20 cm ab Anschl 1x wdh = 126/134/142/150/158 M.
- Bei 21/23/25/28/31 cm ab Anschl 1 Rd wie folgt str: Ab Rd-Beginn 3 M abk, 57/61/65/69/73 M re, 6 M abk, 57/61/65/69/73 M re, 3 M ab Die M liegenlassen.
Tipp 2: Betonte Aufnahmen (seitl Schrägung): Nach der Bezeichnung = 1 M re, 2 M li, 1 M re, 1 M li, 1 M re, 1 M re verschr aufn. Vor der Bezeichnung = 1 M re verschr aufn, 1 M re, 1 M li, 1 M re, 2 M li, 1 M re.
Ärmel arbeiten
- Anschl 42/44/50/52/52 M mit den Nadelspiel 3,5 mm. Die M zur Rd schliessen und den Rundenbeginn markieren.
- Im Muster III rundstr. Bei 4 cm ab Anschl mit N Nr 4 im Muster II weiter rundstr
- dabei in der 1. Rd vert 12 M abn = 30/32/38/40/40 M. Bei 5/6/7/7/8 cm ab Anschl für die seitl Schrägung beids der Bezeichnung jeweils 1 M betont aufn (s. Tipp 3).
- Diese Aufn jede 4. Rd / jede 4. Rd / jede 6. Rd / jede 8. Rd / jede 6. Rd noch 9x/9x/9x/9x/12x wdh = 50/52/58/60/66 M. Bei 22/25/28/33/36 cm ab Anschl 1 Rd wie folgt
- str: Ab Rd-Beginn 3 M abk, 44/46/52/54/60 M re, 3 M abk. Die M liegenlassen. Den 2. Ärmel ebenso str.
- Tipp 3: Betonte Aufn (Ärmelschrägung): Nach der Bezeichnung = 1 M re, 1 M re verschr aufn. Vor der Bezeichnung = 1 M re verschr aufn, 1 M re.
Ärmel arbeiten
- Anschl 42/44/50/52/52 M mit den Nadelspiel 3,5 mm. Die M zur Rd schliessen und den Rundenbeginn markieren.
- Im Muster III rundstr. Bei 4 cm ab Anschl mit N Nr 4 im Muster II weiter rundstr
- dabei in der 1. Rd vert 12 M abn = 30/32/38/40/40 M. Bei 5/6/7/7/8 cm ab Anschl für die seitl Schrägung beids der Bezeichnung jeweils 1 M betont aufn (s. Tipp 3).
- Diese Aufn jede 4. Rd / jede 4. Rd / jede 6. Rd / jede 8. Rd / jede 6. Rd noch 9x/9x/9x/9x/12x wdh = 50/52/58/60/66 M. Bei 22/25/28/33/36 cm ab Anschl 1 Rd wie folgt
- str: Ab Rd-Beginn 3 M abk, 44/46/52/54/60 M re, 3 M abk. Die M liegenlassen. Den 2. Ärmel ebenso str.
- Tipp 3: Betonte Aufn (Ärmelschrägung): Nach der Bezeichnung = 1 M re, 1 M re verschr aufn. Vor der Bezeichnung = 1 M re verschr aufn, 1 M re.
Passe
- Die liegengelassenen 57/61/65/69/73 M des Vorderteils auf eine lange Rundstricknadel 4 mm legen.
- Dann die 44/46/52/54/60 M des 1. Ärmels, 57/61/65/69/73 M des Rückenteils, 44/46/52/54/60 M des 2. Ärmels ebenso auf die Rundstricknadel legen = 202/214/234/246/266 M.
- Nun für die Raglanabnahmen in folgender Mustereinteilung weiterstricken, dabei den Rundenbeginn und die Mittel-Masche des Vorderteils markieren:
- 1 M re, 1 M li, 1 übz Abn (1 M abh, 1 M re str und die abgeh M über die gestr M ziehen), 49/53/57/61/65 M re, 2 M re zus-str, 1 M li, 1 M re, 1 M li, 1 M re, 1 M li, 1 übz Abn, 34/36/42/44/50 M re, 2 M re zus-str, 1 M li, 1 M re, 1 M li, 1 M re, 1 M li, 1 übz Abn, 49/53/57/61/65 M re, 2 M re zus-str, 1 M li, 1 M re, 1 M li, 1 M re, 1 M li, 1 übz Abn, 34/36/42/44/50 M re, 2 M re zus-str, 1 M li, 1 M re, 1 M li = 194/206/226/238/258 M.
- Diese Raglanabnahmen noch 13x/14x/15x/15x/17x jede 2. Rd/R und 4x/4x/5x6x/6x jede R wiederholen.
- V-Ausschnitt: Gleichzeitig mit der 2. Raglanabnahme die Mittel-M des Vorderteils abketten und die Rd zu Ende stricken.
- Anschliessend in Reihen weiterstricken, dabei die Raglanabnahmen weiterarbeiten.
- Für die V-Ausschnittschrägungen betonte Abn (s. Tipp 5) wie folgt str: jede 2. R 2×1 M und jede 4. R 4×1 M / jede 2. R 4×1 M und jede 4. R 3×1 M / jede 2. R 5×1 M und jede 4. R 3×1 M / jede 2. R 5×1 M und jede 4. R 4×1 M / jede 2. R 6×1 M und jede 4. R 4×1 M = 45/47/49/51/53 M. Die M liegenlassen.
- Tipp 4: Raglanabn (in Rd): Stets nach den 5 M Muster III 1 übz Abn (1 M abh, 1 M re str und die abgeh M über die gestr M ziehen) arb und vor den 5 M Muster III 2 M re zus-str. In R = Vorders stets nach den 5 M Muster III 1 übz Abn arb und vor den 5 M Muster III 2 M re zus-str. Rückr = vor den 5 M Muster III 2 M li verschr zus-str und nach den 5 M Muster III 2 M li zus-str.
- Tipp 5: Betonte Abn (V-Ausschnitt): Re Kante = 1 Rdm, 1 übz Abn. Li Kante = 2 M re zus-str, 1 Rdm.
Fertigstellung
- V-Ausschnittborte: Mit der Rundstrick-N Nr 3½ die liegengelassenen 45/47/49/51/53 M auffassen (s. Tipp 6)
- dann aus den Auschnittkanten je ca 26/28/29/31/33 M + 1 Mittel-M auffassen und im Muster III rundstr
- dabei das Muster so aufteilen, dass sich in der vorderen Mitte 1 M re befindet und jede Rd (auch in der Abk-Rd) mit den 3 Mittel-M ein dopp übz Abn str (= 2 M zus re abh, 1 M re str und die 2 abgeh M über die gestr M ziehen). Bei ca 3 cm Bortenhöhe alle M locker dem Muster entsprechend abk.
- Tipp 6: Die liegengelassenen M aller Teile so anpassen, dass alle M im Muster III weiter gestr werden können, evtl M abn.
Fertigstellung
- V-Ausschnittborte: Mit der Rundstrick-N Nr 3½ die liegengelassenen 45/47/49/51/53 M auffassen (s. Tipp 6)
- dann aus den Auschnittkanten je ca 26/28/29/31/33 M + 1 Mittel-M auffassen und im Muster III rundstr
- dabei das Muster so aufteilen, dass sich in der vorderen Mitte 1 M re befindet und jede Rd (auch in der Abk-Rd) mit den 3 Mittel-M ein dopp übz Abn str (= 2 M zus re abh, 1 M re str und die 2 abgeh M über die gestr M ziehen). Bei ca 3 cm Bortenhöhe alle M locker dem Muster entsprechend abk.
- Tipp 6: Die liegengelassenen M aller Teile so anpassen, dass alle M im Muster III weiter gestr werden können, evtl M abn.
Anleitung auch zum Download und in der addi2go App
Die schriftliche Anleitung zum Ausdrucken in DE, FR, NL, EN und DK finden Sie bei unserem Partner LANG YARNS.
Außerdem finden Sie die Anleitung digital in unserer addi2go App. Dort können Sie die Anleitung in einem Projekt mit Reihenzählern und Notizen speichern.